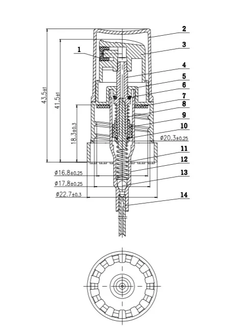
Характеристики
Отзывы
Характеристики
Цвет
Чёрный
Материал
Пластик
Тип крышки
Распылитель
Диаметр горловины
18
Мин.партия, шт
1
Штук в упаковке
2500
Отзывы
Отзывов еще никто не оставлял
